特徴
- 優れた耐久能力と安定した長期間連続運転性能
堅牢な濾過構造と円滑な回転逆洗部からなるので、1年間、無人無停止運転可能であり、耐用年数は5年以上で、10年以上継続使用の実績を保有します。
- 高い濾過能力と高い逆洗効果
最大濾過面積の波形折濾材を円筒枠に納めたエレメントは、濾過抵抗が極めて低く、塵埃濃度の高い液でも容易に目詰りのトラブルを生起せず、且つ濾滓の蓄積量が大きいです。円筒枠の縦リブで仕切られている濾材は、夫々順に、確実且効果的に、自圧により逆洗されます。
- 大きい濾過容量と精密濾過が可能
最高の濾過流量は、標準品で200m3/min特に400m3/min迄製作可能です。濾材目の細かさでは、標準は50メッシュ位であるが、特に200メッシュ迄製作出来ます。
- 小さい設置面積と低コスト
抜群に大きい有効濾過面積を確保出来るので、装置全体がコンパクトになります。設置面積も小さくすみ、イニシアルコストは画期的に安いです。
- 低いランニングコスト
小さい回転動力で済み、電力費が安く、逆洗排液量も少く、無人運転で省力化されて、運転経費は極めて低廉な節減型です。
- 独特な安全装置と故障警報の完備
大きい荷重が回転部にかかった時、破損防止用に組付けられた減速機のクラッチがスリップし、附設リミットスイッチにより、警報信号を発信できます。濾材の目詰りで圧力損失が増大した時、設置された差圧スイッチの信号で、自動操作による差圧逆洗と、目詰り異常警報を発する事が出来ます。
- 簡単な取扱い
簡単に分解、組立が可能で、特にエレメントと回転逆洗孔本体及その軸受は一体で、容器外に取出し、調整及部品交換が短時間で容易に出来ます。
用途
- 工場環水回路に於て、洗浄水・冷却水・散水スプレー・デスケーリング等の装置への送水ラインに設置されて、紙粉、繊維、スケール、ダスト、石炭又はコークス粉、その他環水回路中に育成する生物等を除去して、設置中のノズルや細い管の目詰まりを防止し、又高圧ポンプ及び精密機器等の保護に広く簡易に使用されています。
- 河川水、湖水、海水をプラント及びプロセス用水として大量に水処理を要する場合に最も適しているので、製鉄工場、製紙工場、発電所等には、多くの実績を持っています。
- 機械工場に於て、工作機の可溶性油エマルジョンから、切粉、金属屑等を連続的に除去するするのに用いられます。
- 石油精製又は輸送ラインに於て、石油製品中の異物の除去にも使用されます。
仕様条件
オートストレーナの機種決定の仕様条件は、次の事項が必要です。
- 原液の性質
(1) 液名(河川水・循環水・海水・白水・油質等)
(2) 液の温度・粘度・比重
(3) 混入物の比重・濃度(SS)・粒度分布
- 濾過流量 常用流量・最大流量
- 濾過圧力 常用圧力・最大圧力
- 圧力損失
- 濾過精度 メッシュ
- 出入口径 フランジ規格
- 電 源 電圧・相・サイクル
- ゴミ排出方法 連続排出・自動排出・自動排出弁操作源(圧縮空気圧作動又は電動作動)
- 付属品・操作盤・相フランジ(口径)その他予備品の有無
- 設置場所 屋内・屋外・環境条件
各種データ
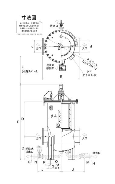
寸法表

(※1)出入口、逆洗口、放液口の向き及び口径は変更する事が可能です。
(※2)BCF-2の口径は80A以下の製作も可能です。
(※3)本「寸法表」は、当該型式の標準寸法を示したものであり、仕様等により表記の寸法と異なる場合があります。
寸法図(クリックすると別ウィンドウで開きます)
 |
圧力降下線図
 |